關鍵詞排名是每個網站賴以生存的基礎,尤其是百度排名,更被關注。一個關鍵詞的排名情況,是網站優化工作者必須掌握的,要不然很難做好seo工作。了解了關鍵詞歷史排名情況,才會有相應網站優化方案,讓關鍵詞取得更好的排名。今天就分享一下,如何查詢某個關鍵詞的百度排名及歷史排名。
1、首先在瀏覽器打開百度,搜索欄輸入“關鍵詞排名查詢”,然后搜索。

2、在搜索結果中找到站長工具并打開。

3、打開以后,頁面上有“百度關鍵詞排名查詢”和“百度關鍵詞地區排名查詢”兩個搜索框。

4、我們以“百度”這個關鍵詞為例,查詢百度這個網站在搜索引擎中的排名。

5、第一個搜索框,算是綜合查詢,結果是隨機的地區排名。第二個搜索框,是地區排名查詢,結果默認顯示1到50名是否有排名,依次類推。


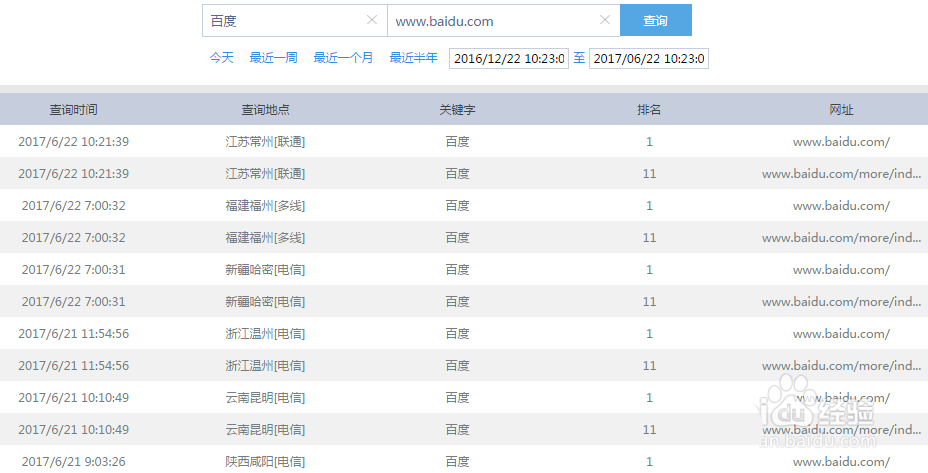
6、這個排名的結果并不是只查詢的你輸入的網站首頁的排名,而是這個網址下所有參與排名的鏈接的排名。如圖所示,最右側有下拉按鈕,點開可以看到全部有排名的網站鏈接。

7、在排名查詢的結果頁面上,有查看歷史排名,點擊打開,就可以看到某個關鍵詞的歷史排名。時間可以自定義。


相關推薦:
老站關鍵詞排名突然下降浮動很大該怎么辦?
網站中已經有排名的內頁長尾關鍵詞該怎么維護?
怎么利用百度經驗快速提升網站權重與關鍵詞排名?